一、卷材防水鼓泡
(一)现象:
卷材铺贴后即发现鼓泡,一般由小到大,随气温的升高,气泡数量和尺寸增加。
(二)原因分析:
基层不干燥,表面没有扫刷干净,防水层底部有水汽渗入,基层面没有涂刷基层处理剂,粘结剂与卷材材性不匹配,涂刷不均匀,铺贴卷材时没有将底面的空气排除,有的排气槽堵塞等。
(三)防治措施:
基层必须干燥,用简易检验方法测试合格后,方可铺贴;基层要扫刷干净,选用的基层处理剂、粘结剂要和卷材的材性相匹配,经测试合格后方可使用;待涂刷的基层处理剂干燥后,涂刷粘结剂中国涂料在线coatingol.com。卷材铺贴时,必须抹除下面的空气,滚压密实。也可采用条粘、点粘、空铺的方法,确保排气道畅通。
有保温层的卷材防水屋面工程,必须设置纵横贯通的排气槽和穿出防水层的排气井,见图1。

图1 排气槽和排气井
二、卷材防水层裂缝
(一)现象:
防水层出现沿预制屋面板端头裂缝、节点裂缝、不规则裂缝渗漏。
(二)原因分析:
盲目使用延伸率低的卷材,板端头和节点细部没有做附加缓冲层和增强层,施工方法错误,如在铺贴卷材时拉得过紧。
(三)防治措施:
1、选用延伸率大,耐用年限要高于15年的卷材;
2、在预制屋面板端头缝处设缓冲层,见图2和图3,干铺卷材条宽300mm。铺卷材时不宜拉得太紧。夏天施工要放松后铺贴。

图2 板缝缓冲层
1—密封材料;2—干铺卷材;3—防水层

图3 板缝处理
1—上风一侧点贴固定;2—干铺卷材条;3—聚氯乙烯胶泥;4—φ20浸油草绳;
5—C20细石混凝土
在防水卷材已出现裂缝时,沿规则的裂缝弹线,用切割机切割。如基层没有留分格缝,则要切缝,缝宽20mm,缝内嵌填柔性密封膏,面上沿缝空铺一条宽200mm的卷材条作缓冲层,再满粘一条350mm宽的卷材防水层,节点细部裂缝的处理方法同上。
三、女儿墙根部漏水
(一)现象:
防水层沿女儿墙根部阴角空鼓、裂缝,女儿墙砌体裂缝,压顶裂缝,山墙被推出墙面,雨水从缝隙中灌人内墙。
(二)原因分析:
找平层、刚性防水层等施工时直接靠紧女儿墙,不留分格缝,长条女儿墙砌体没有留伸缩缝,在温差作用下,山墙和女儿墙开裂;女儿墙等根部阴角没有按规定做圆弧,铺卷材防水层没有按规定做缓冲层,卷材端边的收头密封不好,导致裂缝、张口而渗漏水。
(三)防治措施:
施工屋面找平层和刚性防水层时,在女儿墙交接处应留30mm的分格缝,缝中嵌填柔性密封膏;女儿墙根部的阴角粉成圆弧,女儿墙高度大于 800mm时,要留凹槽,见图4,卷材端部应裁齐压入预留凹槽内,钉牢后用水泥砂浆或密封材料将凹槽嵌填严实。女儿墙高度低于800mm时,卷材端头直接铺贴到女儿墙顶面,再做钢筋混凝土压顶。见图5。

图4 女儿墙卷材泛水收头
1—凹槽;2—密封材料; 3—附加层;4—防水层

图5 女儿墙压顶与卷材收头
1—压顶;2—附加层;3—防水层;
屋面找平层或刚性防水层紧靠女儿墙,未留分格缝时,要沿女儿墙边切割出20~30mm宽的槽,扫刷干净,槽内嵌填柔性密封膏,女儿墙体有裂缝,要用灌浆材料修补,如山墙的女儿墙已凸出墙面时,须拆除后重砌,对卷材收头的张口应修补密封严实。
四、天沟、檐沟漏水
(一)现象:
沿沟底或预制檐沟的接头处,屋面与天沟交接处裂缝,沟底渗漏水。
(二)原因分析:
天沟、檐沟的结构变形,温差变形导致裂缝,防水构造层不符合要求,水落口杯直径太小或堵塞造成溢水、漏水。
(三)防治措施:
沟内防水层施工前,先检查预制天沟的接头和屋面基层结合处的灌缝是否严密和平整,水落口杯要安装好,排水坡度不宜小于 1%,沟底阴角要抹成圆弧,转角处阳角要抹成钝角,用与卷材同性质的涂膜做防水增强层,沟与屋面交接处空铺宽为200mm的卷材条,防水卷材必须铺到天沟外邦顶面。见图6。

图6 檐沟
1—防水层;2—附加层;3—密封材料;4—干铺卷材
天沟、檐沟出现裂缝,要将裂缝处的防水层割开,将基层裂缝处凿成“V”形槽,上口宽20mm,并扫刷干净,再嵌填柔性密封膏,在缝上空铺宽200mm的卷材条作缓冲层,然后满粘贴宽350mm的卷材防水层。
五、变形缝漏水
(一)现象:
沿变形缝根部裂缝及缝上封盖处漏水。
(二)原因分析:
变形缝细部构造不当,根部阴角没有做圆弧和防水附加层,顶面封盖没有做缓冲层,封盖拉裂后破坏致使防水层出现渗漏水。
(三)防治措施:
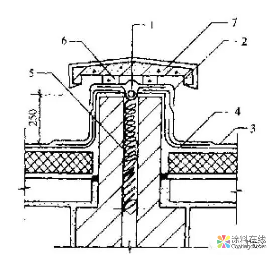
检查抹灰质量和干燥程度,扫刷干净,按图7所示,在根部铺一层附加层,附加卷材宽300mm,卷材上端要粘牢固(其余为空铺),在立墙和顶面,卷材要满粘贴,墙顶面盖一条与墙面同宽的卷材,贴好一面后,缝中嵌入衬垫材料,再贴好另一面,上面再覆盖一层卷材,卷材比墙外两边宽200mm,覆盖后粘牢,用现浇或预制钢筋混凝土盖板扣压牢固,预制盖板的接缝用密封膏嵌填密实。

图7 变形缝防水构造
1—衬垫材料;2—卷材封盖;3—防水层;4—附加层;5—沥青麻丝;5—水泥砂浆;7—混凝土盖板
变形缝墙根部出现裂缝而渗漏水,要将裂缝处的卷材割开,基层扩缝后,嵌填防水密封膏,空铺卷材条后,再将原防水层修补、加强粘贴好;变形缝墙顶面卷材拉裂或破损时,应将混凝土盖板取下,重新修复。
六、水落口漏水
(一)现象:
沿水落口周围漏水,有的水落口面高于防水层而积水,或因水落口小,堵塞而溢水。
(二)原因分析:
水落口杯安装的高度高于基层,水落口杯与结构层接触处没有堵嵌密实,横式穿墙水落口与墙体之间的空隙,没有用砂浆填嵌严实,没有做防水附加层,防水层没有伸入水落口杯内的一定距离,造成雨水沿水落口外侧与水泥砂浆的接缝处渗漏水。
(三)防治措施:
现浇天沟的直式水落口杯,要先安装在模板上,方可浇筑混凝土,沿杯边捣固密实。预制天沟,水落口杯安装好后要托好杯管周的底模板。用配合比为1:2:2的水泥、砂、细石子混凝土灌筑捣实,沿杯壁与天沟结合处上面留20mm×20mm的凹槽并嵌填密封材料,水落口杯顶面不应高于天沟找平层。见图8。
水落口的附加卷材粘贴方法:裁一条宽大于或等于250mm,长为水落口内径加100mm的卷材卷成圆筒,伸入水落口内100mm粘贴牢固,露出水落口外的卷材剪成30mm宽的小条外翻,粘贴在水落口外周围的平面上,再剪一块直径比水落口杯内径大200mm的卷材,居中按水落口杯内径剪成米字形,涂胶贴牢,将米字条向口内下插贴牢,然后再铺贴大面防水层。

图8 水落口
1—密封材料;2—防水层;3—附加层;4—找平层;5—密封材料
三棵树以创新助推工业涂料国产化
涂料行业唯一!三棵树AI公益项目获艾菲国际金奖
三棵树 X 抖音《心动的房子》,明星携手顶尖设计师,开启“理想家”的美学探索
三棵树越南市场开拓:深耕本土化运营 打造东南亚发展新样本
工程机械销量上扬引涂料需求爆发,高性能+环保+国产化重塑行业格局
政策破局+需求牵引:中国特种涂料产业正迎来"自主突围"黄金窗口期!
中国涂层材料行业全景透视:市场规模同比增长2.62%背后的工业驱动与创新趋势!
纳米涂层赋能新能源产业破局!
80亿市场规模背后的绿色革命:无机涂料何以成为建材行业新宠?
防水行业从“增量红利”到“存量博弈”!
辐射制冷涂料以“智冷”技术开启涂料产业新增长极!
基建“三稳”赋能,为涂料行业带来哪些机会?
三棵树即将亮相2025广州设计周:以东方美学开启温情之旅
【月满东方 宅见未来】三棵树以“东方大宅”为笺,亮相2025广州设计周